соответствует экспериментальной сети Ethernet
Стандарт 10Base- 5 соответствует экспериментальной сети Ethernet фирмы Xerox и может считаться классическим Ethernet'ом. Он использует в качестве среды передачи данных коаксиальный кабель с диаметром центрального медного провода 2,17 мм и внешним диаметром около 10 мм ("толстый" Ethernet).
Кабель используется как моноканал для всех станций. Сегмент кабеля имеет максимальную длину 500 м (без повторителей) и должен иметь на концах согласующие терминаторы сопротивлением 50 Ом, поглощающие распространяющиеся по кабелю сигналы и препятствующие возникновению отраженных сигналов.
Различные компоненты сети, выполненной на толстом коаксиале, показаны на рисунке 5.
Станция должна подключаться к кабелю при помощи приемопередатчика - трансивера. Трансивер устанавливается непосредственно на кабеле и питается от сетевого адаптера компьютера (рис. 6). Трансивер может подсоединяться к кабелю как методом прокалывания, обеспечивающим непосредственный физический контакт, так и бесконтактным методом.
Трансивер соединяется с сетевым адаптером интерфейсным кабелем AUI (Attachment Unit Interface) длиной до 50 м, состоящим из 4 витых пар (адаптер должен иметь разъем AUI). Допускается подключение к одному сегменту не более 100 трансиверов, причем расстояние между подключениями трансиверов не должно быть меньше 2.5 м.

Рис. 5. Компоненты физического уровня сети стандарта
10 Base-5, состоящей из двух сегментов

Рис. 6. Структурная схема сетевого адаптера стандарта
10Base-5 ("толстый" Ethernet )
Трансивер - это часть сетевого адаптера, которая выполняет следующие функции:
Последнюю функцию часто называют контролем болтливости (jabber control). При возникновении неисправностей в адаптере может возникнуть ситуация, когда на кабель будет непрерывно выдаваться последовательность случайных сигналов.
Так как кабель - это общая среда для всех станций, то работа сети будет заблокирована одним неисправным адаптером. Чтобы этого не случилось, на выходе передатчика ставится схема, которая проверяет количество битов, переданных в пакете. Если максимальная длина пакета превышается, то эта схема просто отсоединяет выход передатчика от кабеля.
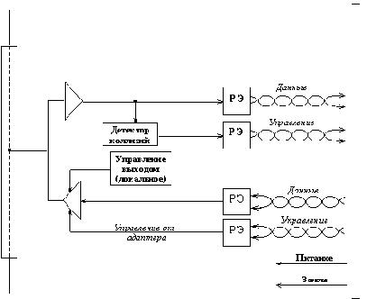
Упрощенная структурная схема трансивера показана на рисунке 7. Детектор коллизий определяет наличие коллизии в коаксиальном кабеле по повышенному уровню постоянной составляющей сигналов. Если постоянная составляющая превышает определенный порог, то значит на кабель работает более чем один передатчик.
К достоинствам стандарта 10Base-5 относятся:

Рис. 7. Структурная схема трансивера
К недостаткам следует отнести: